France: French | English
Do you have questions or need help? Call +33 1 60 79 49 70 or email webshop-fr@engcon.com.
Votre panier est vide
€0,00
TVA
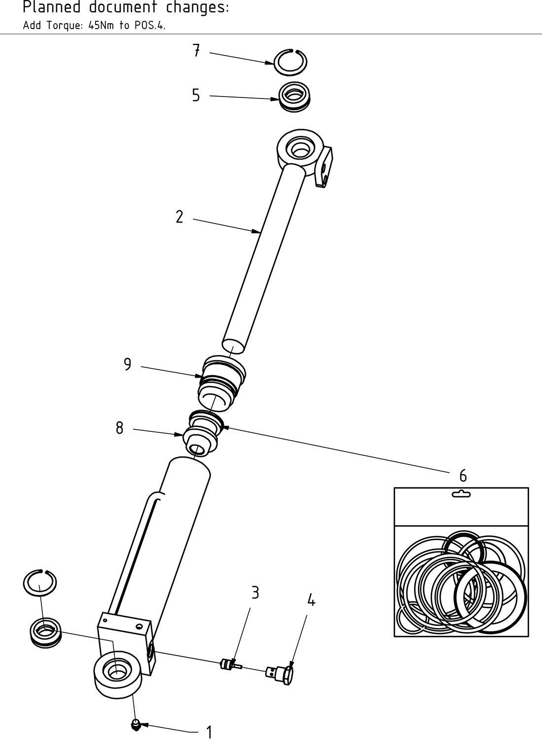
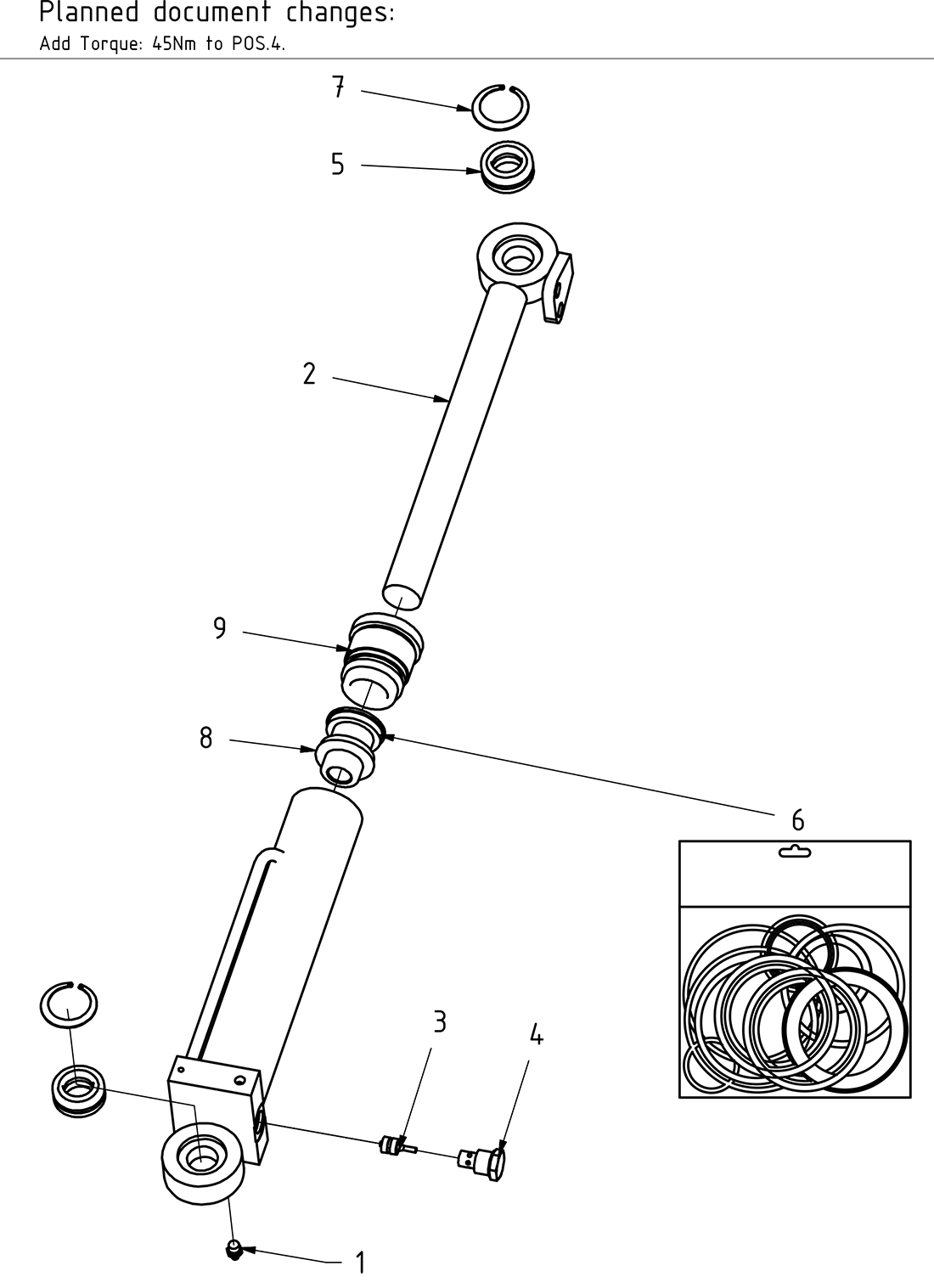
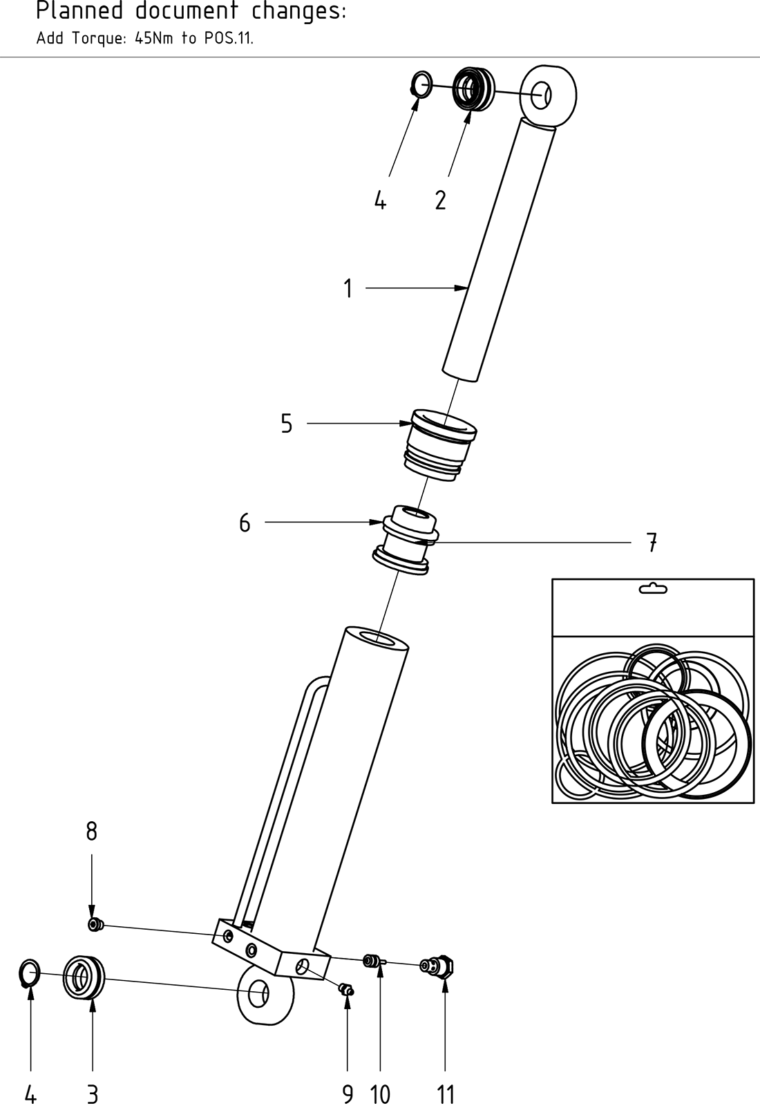
Grab cylinders
Prix hors TVA