Finland: Finnish | Swedish | English
Onko sinulla kysyttävää tai tarvitsetko apua? Soita +358 6 3222 815 tai lähetä sähköpostia varaosat@engcon.fi
Ostoskorisi on tyhjä
€0,00
ALV
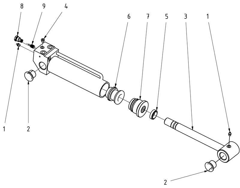
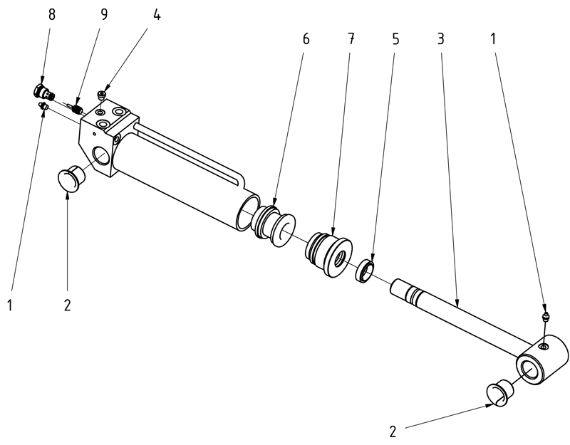
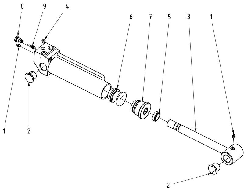
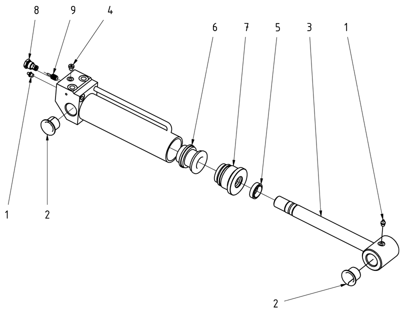
Cylinders
Hinnat ilman ALV