Skip to content
Home
Spare parts
Instruction manuals
Serial number search
Contact us
To engcon.com
Search
Open mini cart
Close
Your cart
Your cart is empty
Keep shopping
Products in the cart
0.00 SEK
VAT
0.00 SEK
Total
0.00 SEK
Checkout
Home
Spare parts
Instruction manuals
Serial number search
Contact us
To engcon.com
Start page
Spare parts
Tools
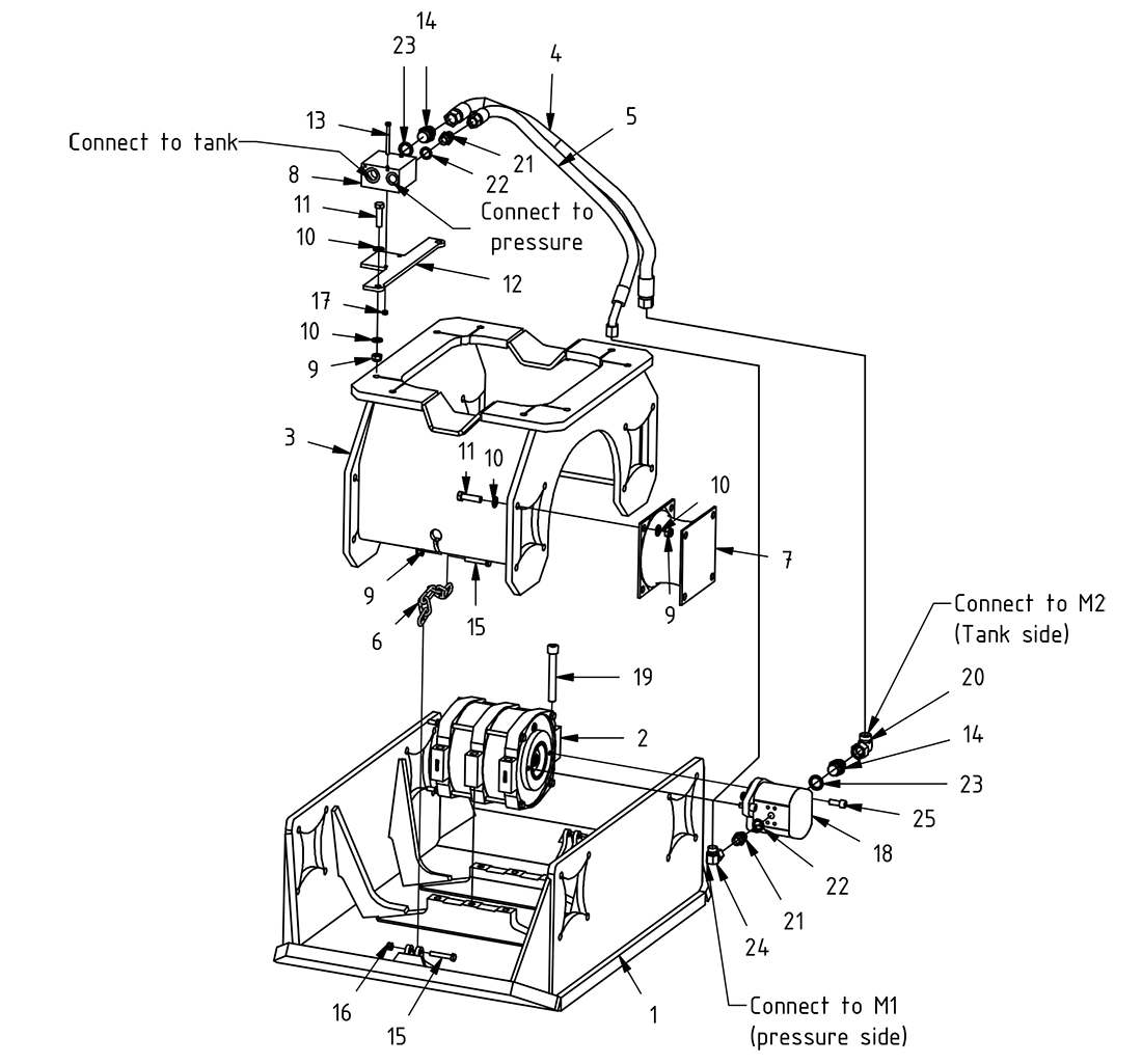
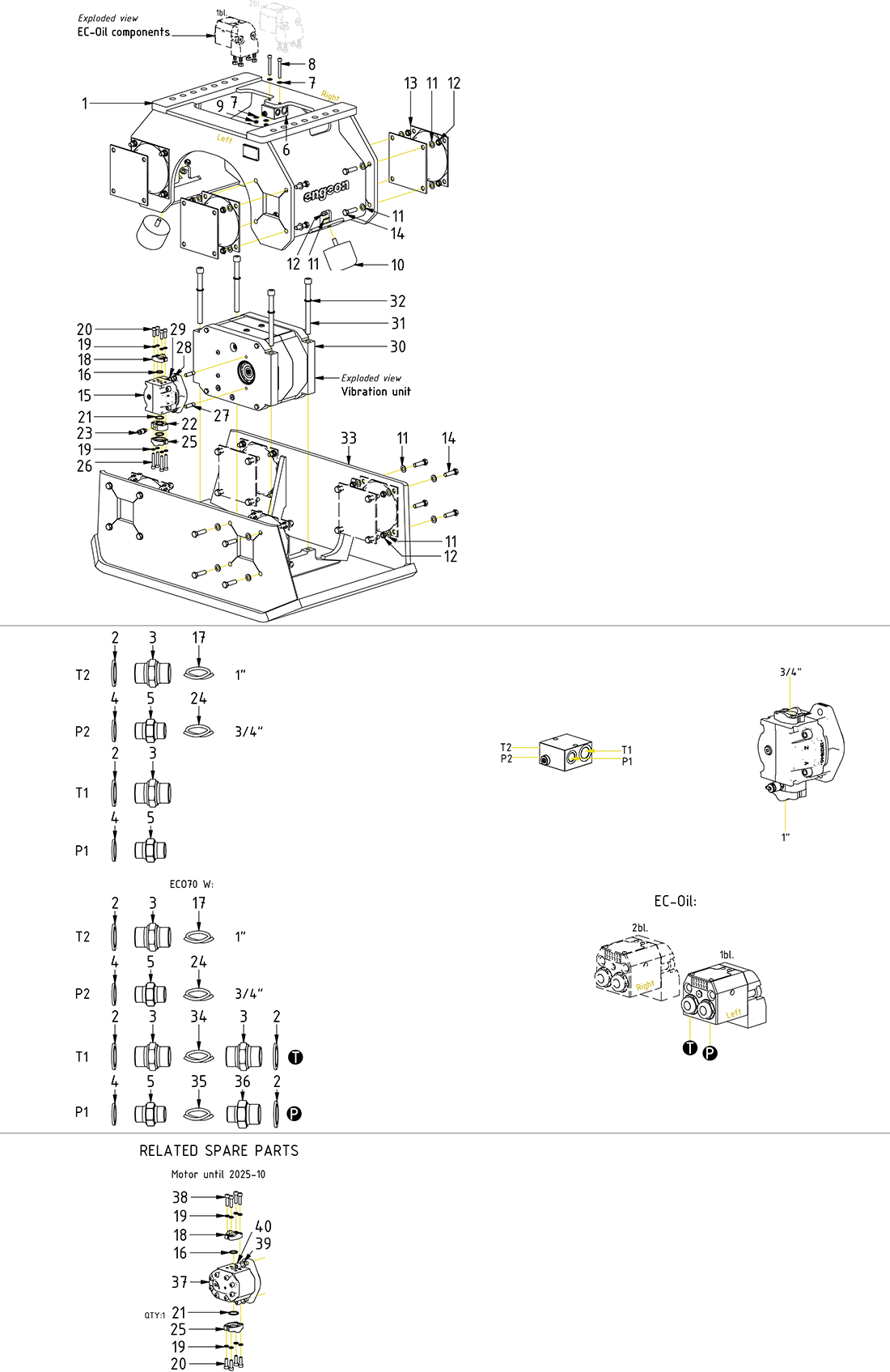
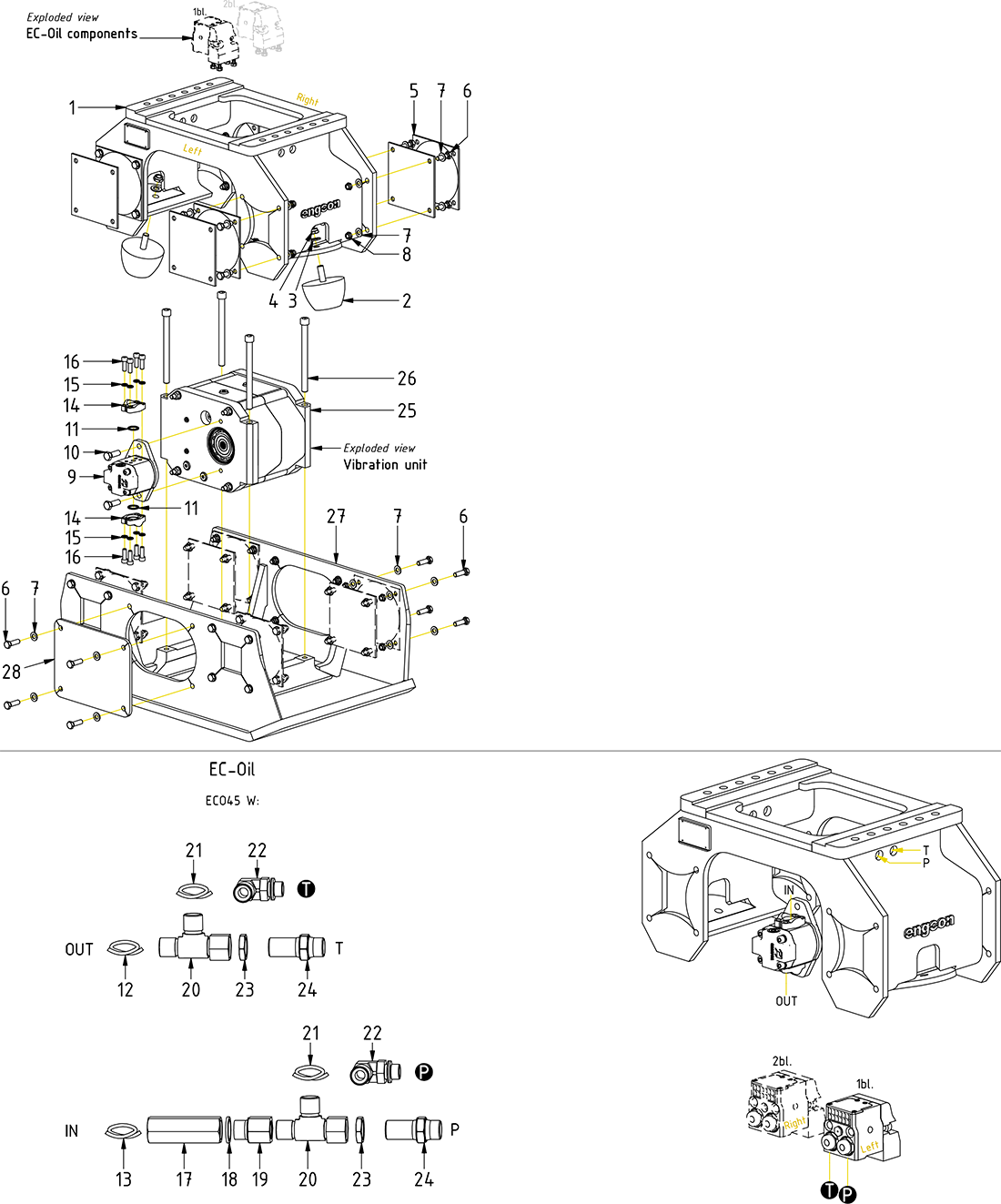
Vibrating compactors
Tools
Vibrating compactors
Vibrating compactors
+
Machine hitch
+
Tiltrotators
−
Tools
+
Tilt hitches
+
Electrical kits
PC3200
PC6000
PC9500
PP3200
PP350
PP600
PP950
Top brackets QS
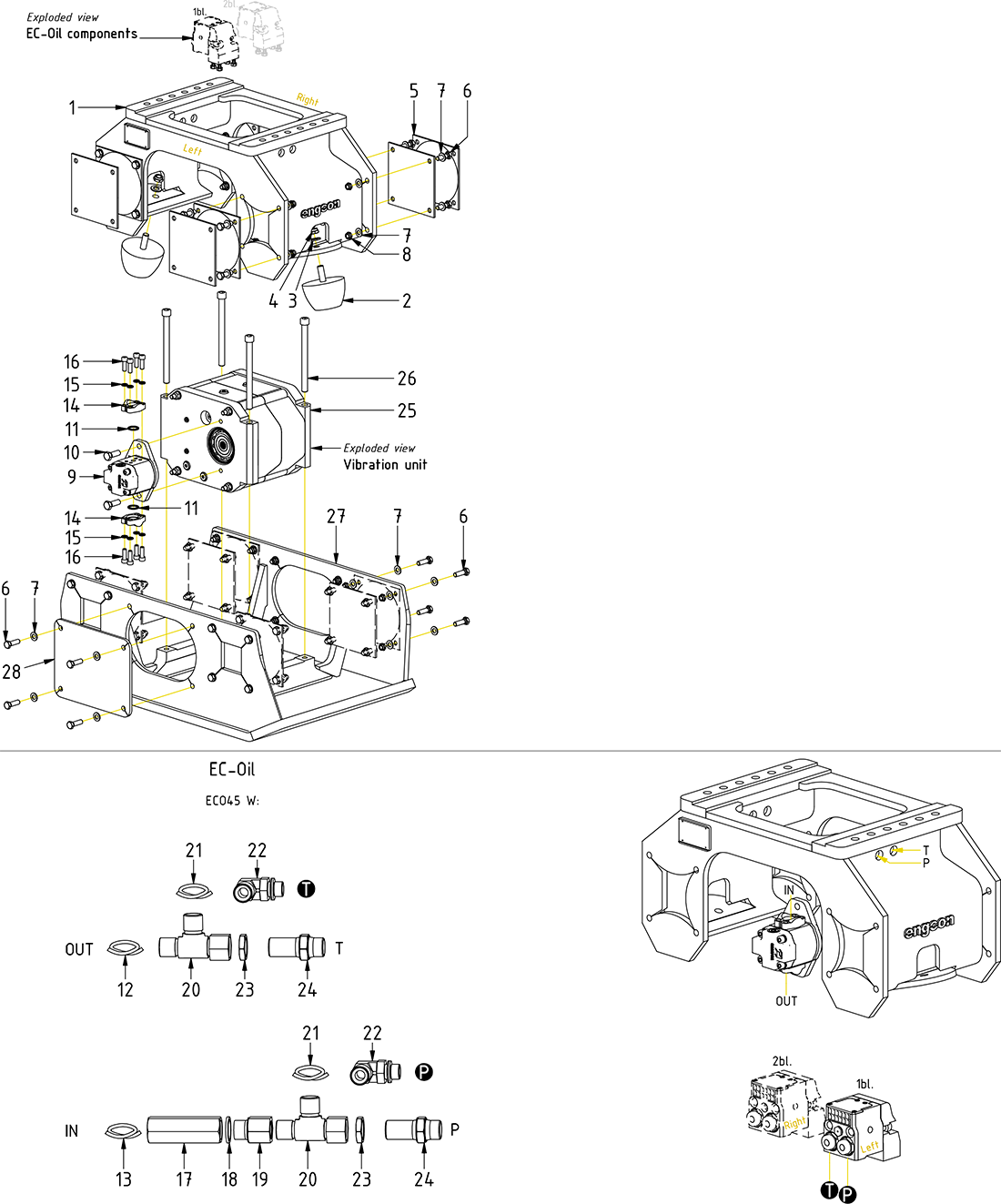
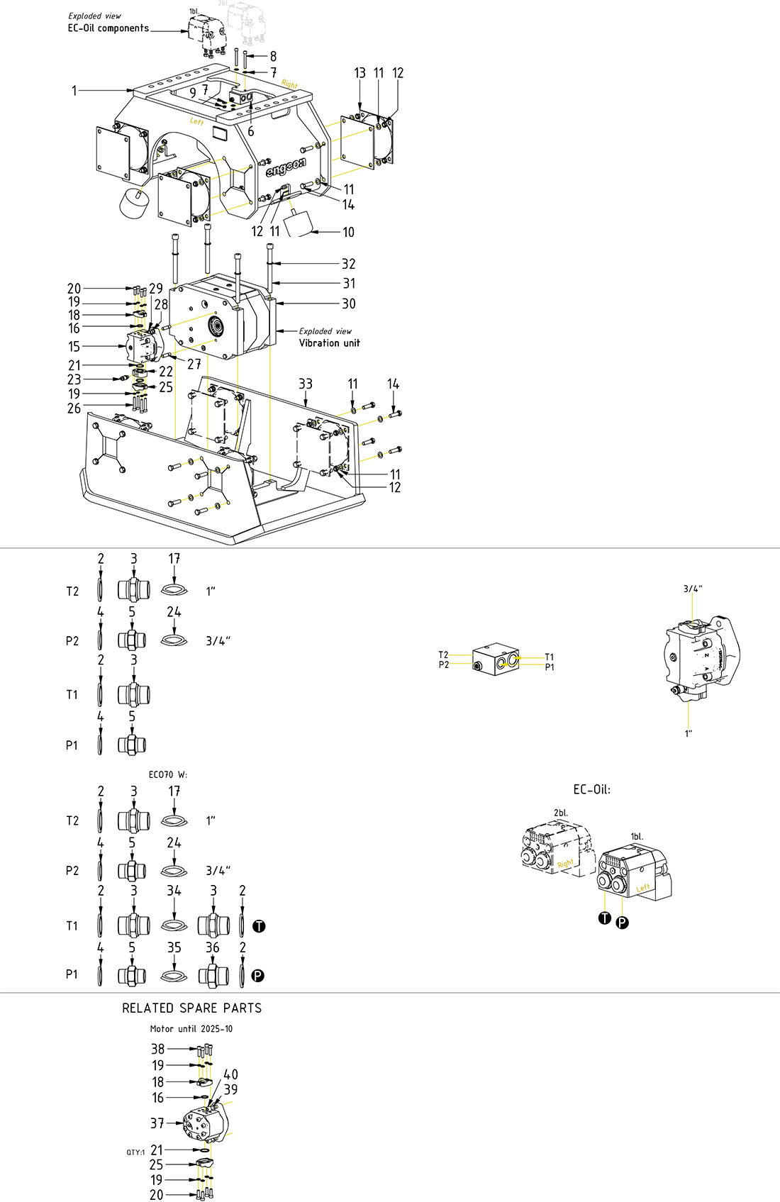
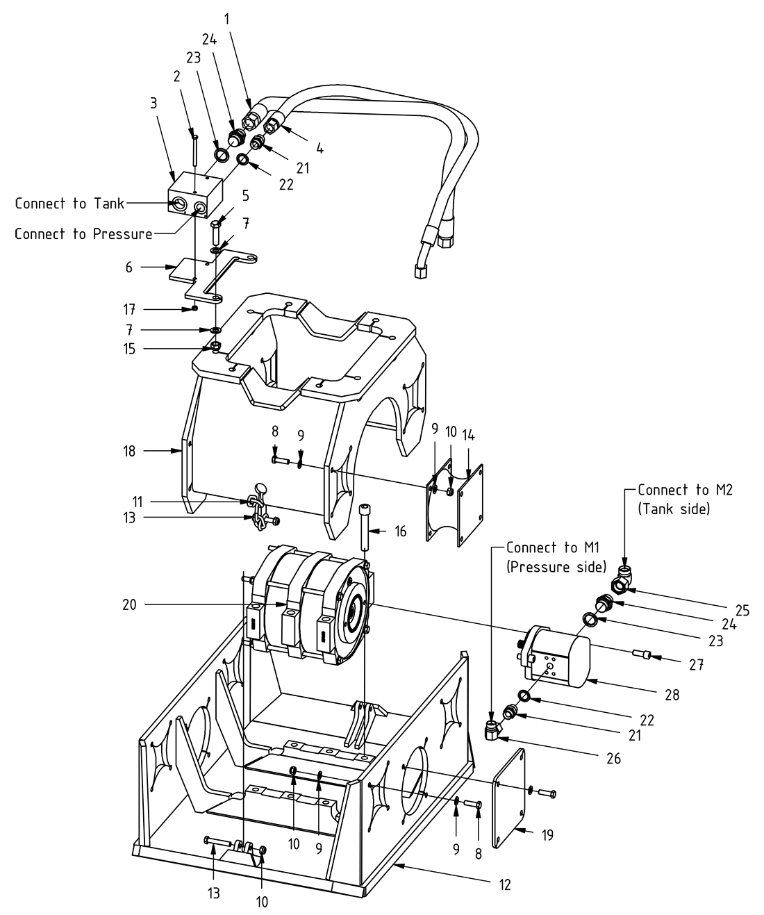
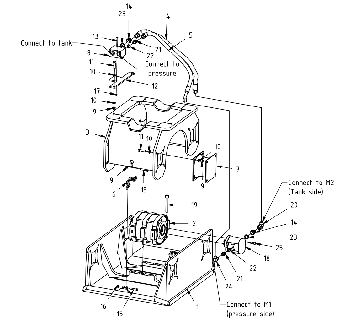
Vibration units
EC-Oil components