Skip to content

Norway: Norwegian | English

Do you have questions or need help? Call +47 22 75 44 44 or email norge@engcon.com.

Engcon Spare Parts

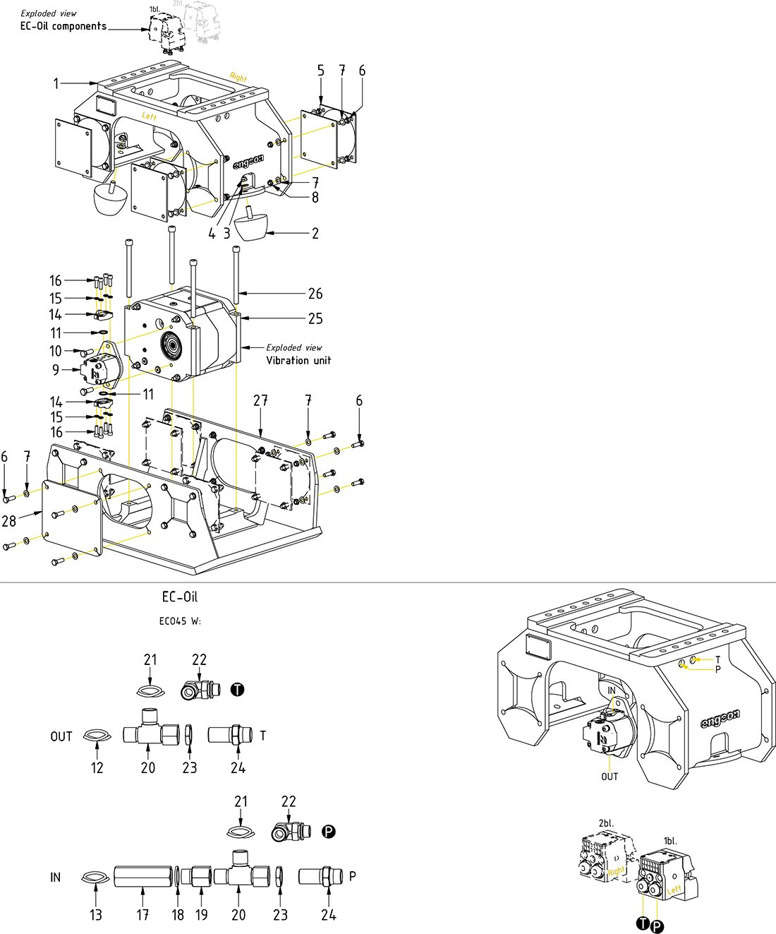
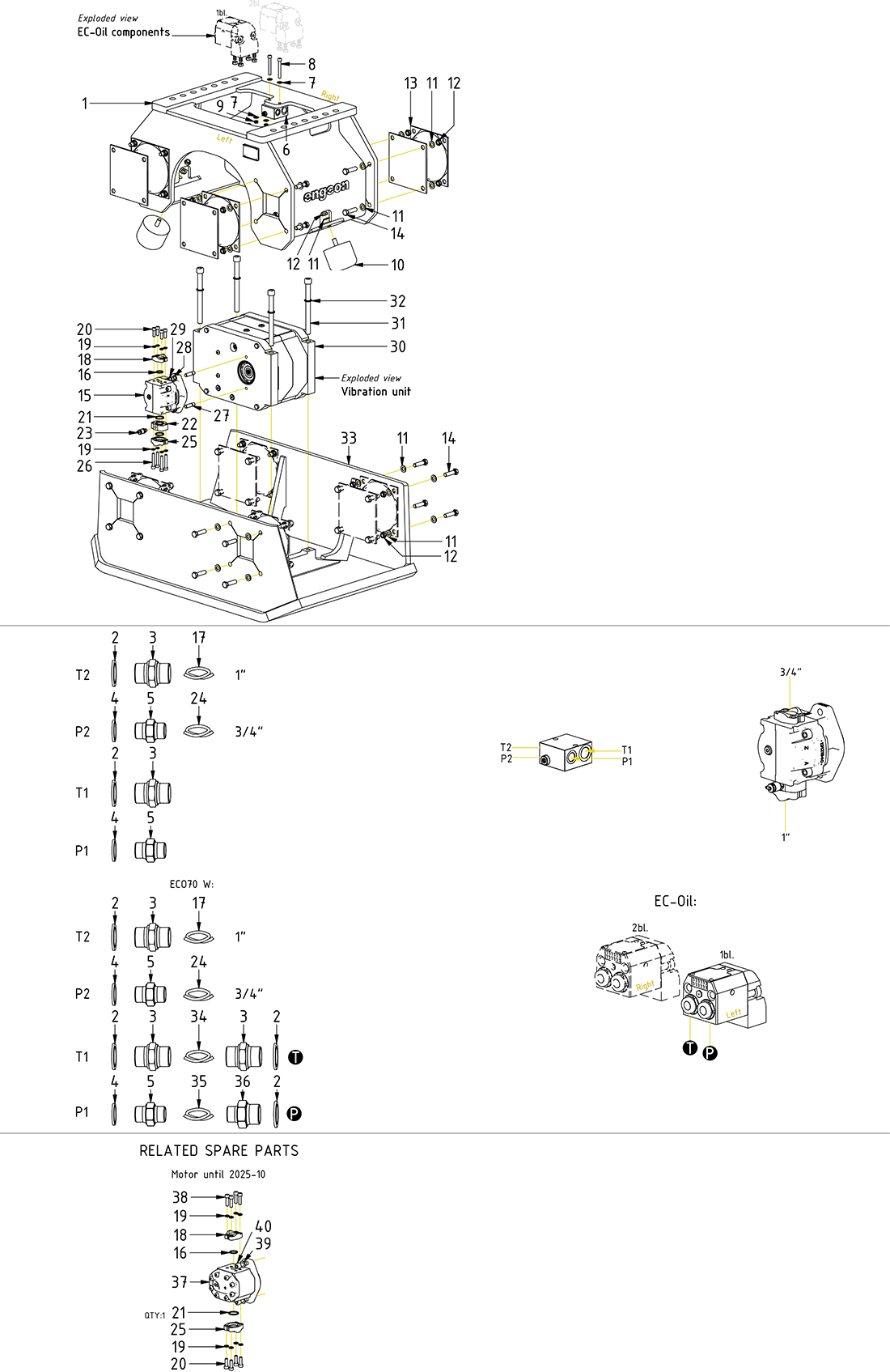
Vibrating compactors

Prices excl. VAT