Do you have questions or need help? Call +353 15 686 742 or email ireland@engcon.com.
Your cart is empty
€0.00
VAT
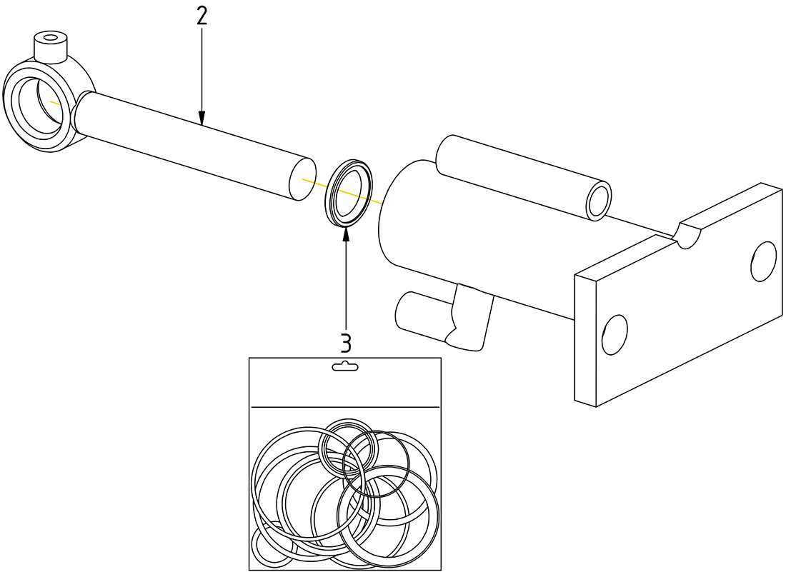
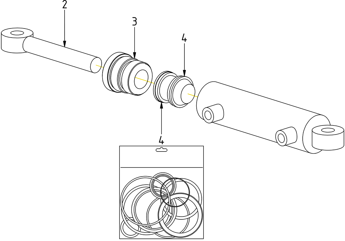
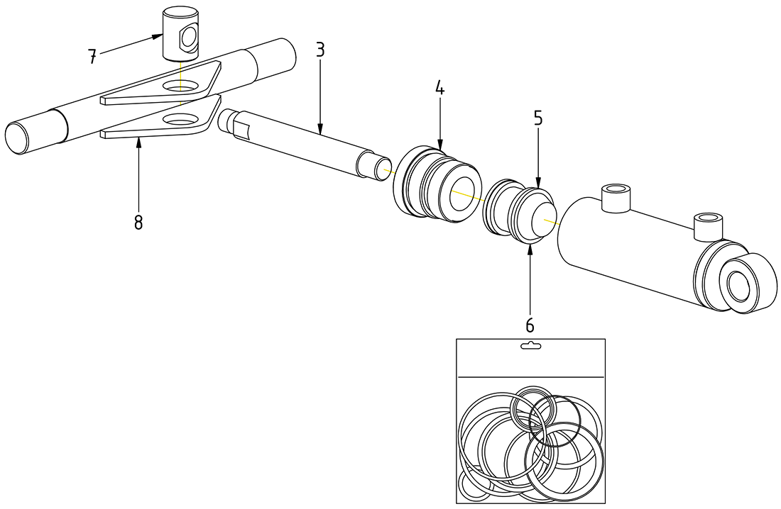
Lock cylinders
Prices excl. VAT