Skip to content

Do you have questions or need help? Call 01684 297168 or email uk@engcon.com.

Engcon Spare Parts

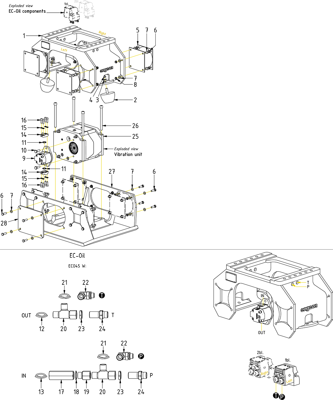
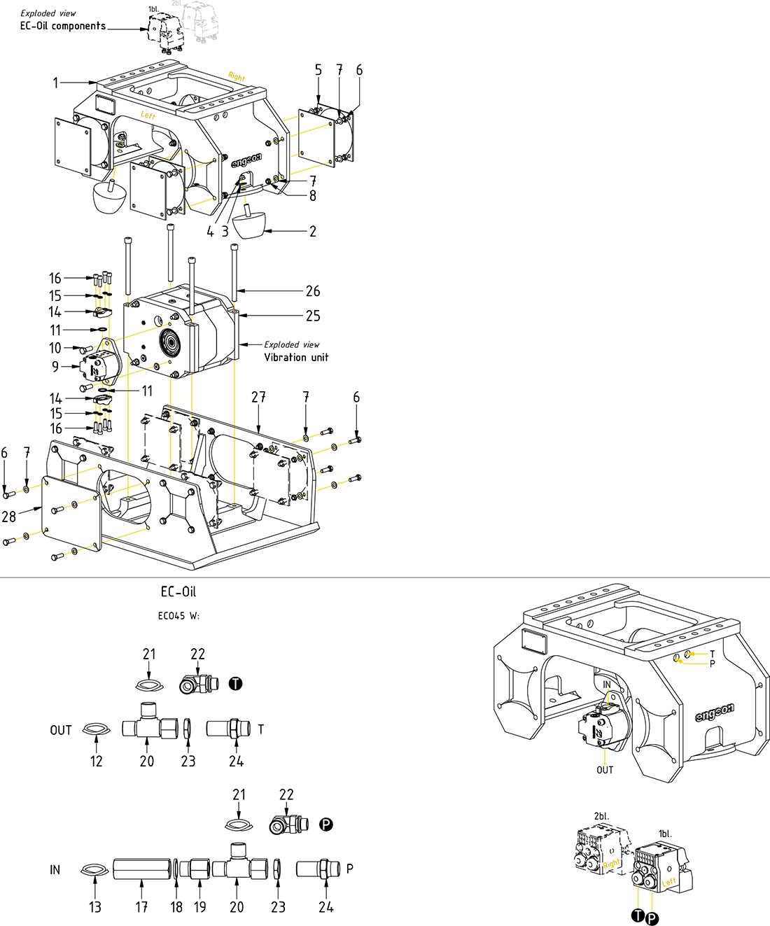
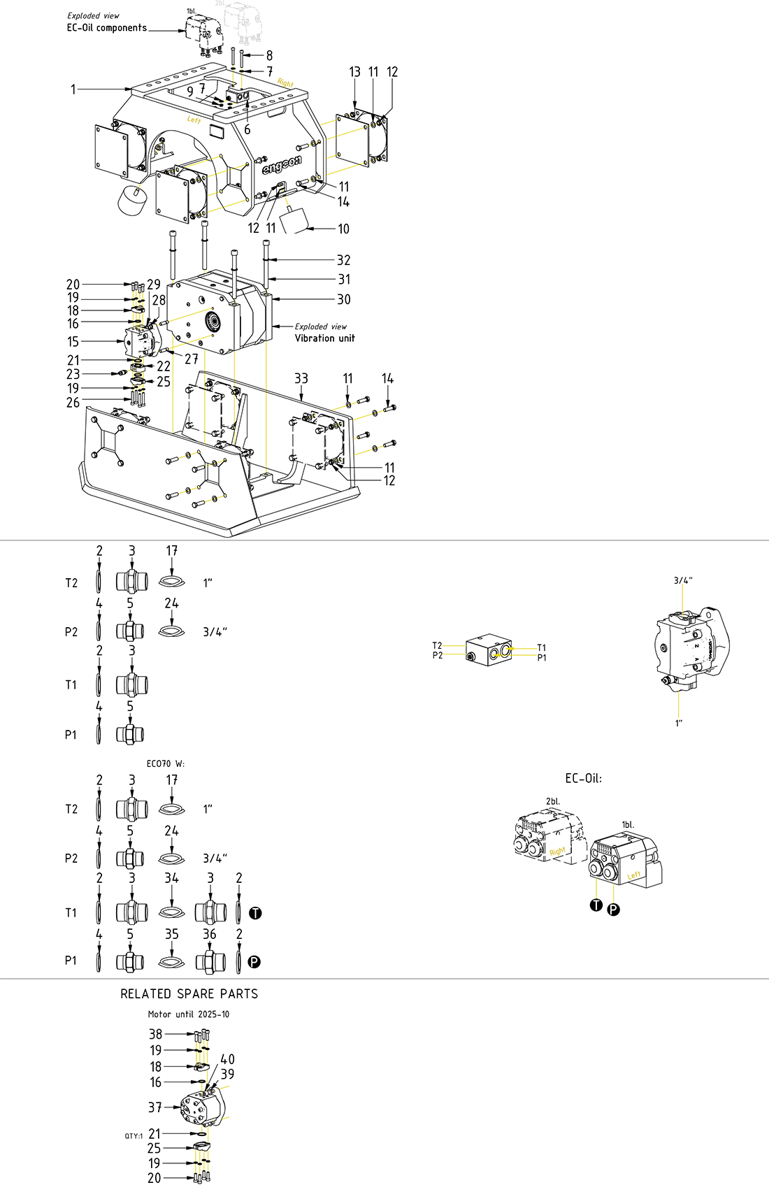
Vibrating compactors

Prices excl. VAT