Skip to content

Do you have questions or need help? Call 01684 297168 or email uk@engcon.com.

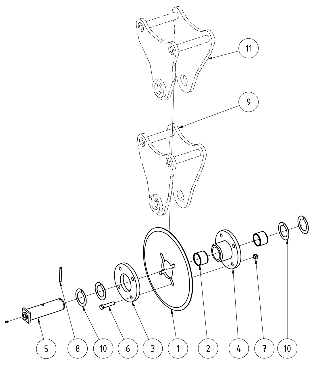
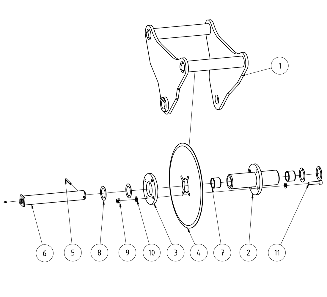
Engcon Spare Parts

Tarmac Cutters

Prices excl. VAT