Skip to content

France: French | English

Do you have questions or need help? Call +33 1 60 79 49 70 or email webshop-fr@engcon.com.

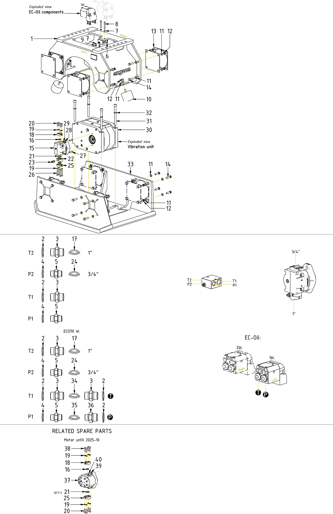
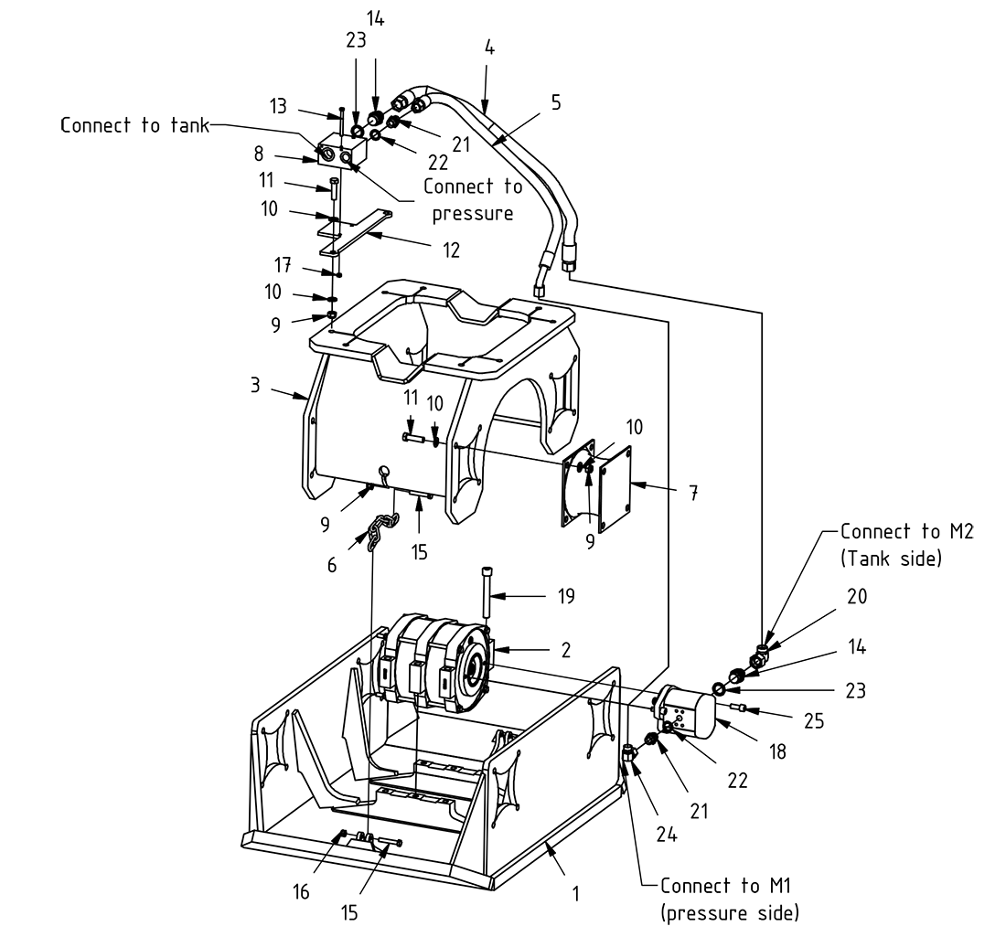
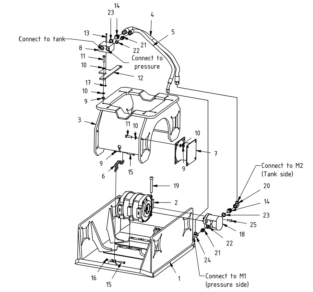
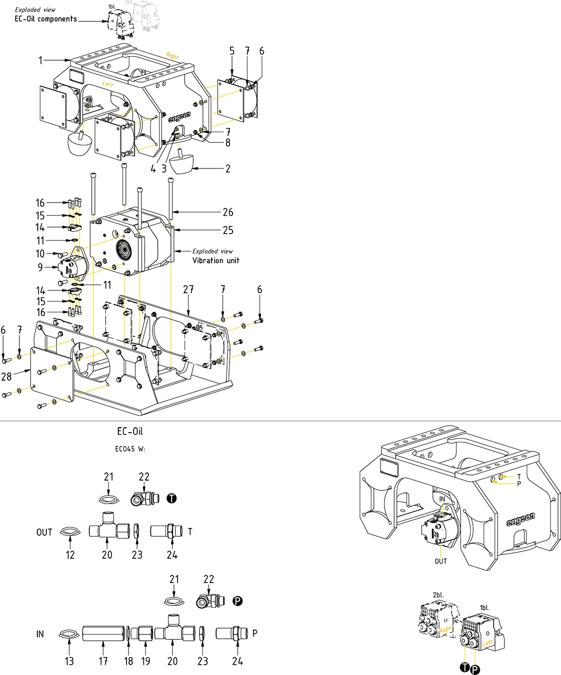
Engcon Spare Parts

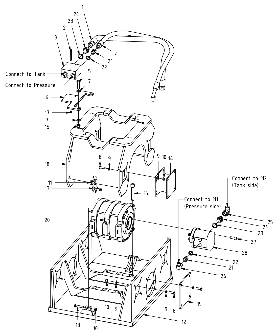
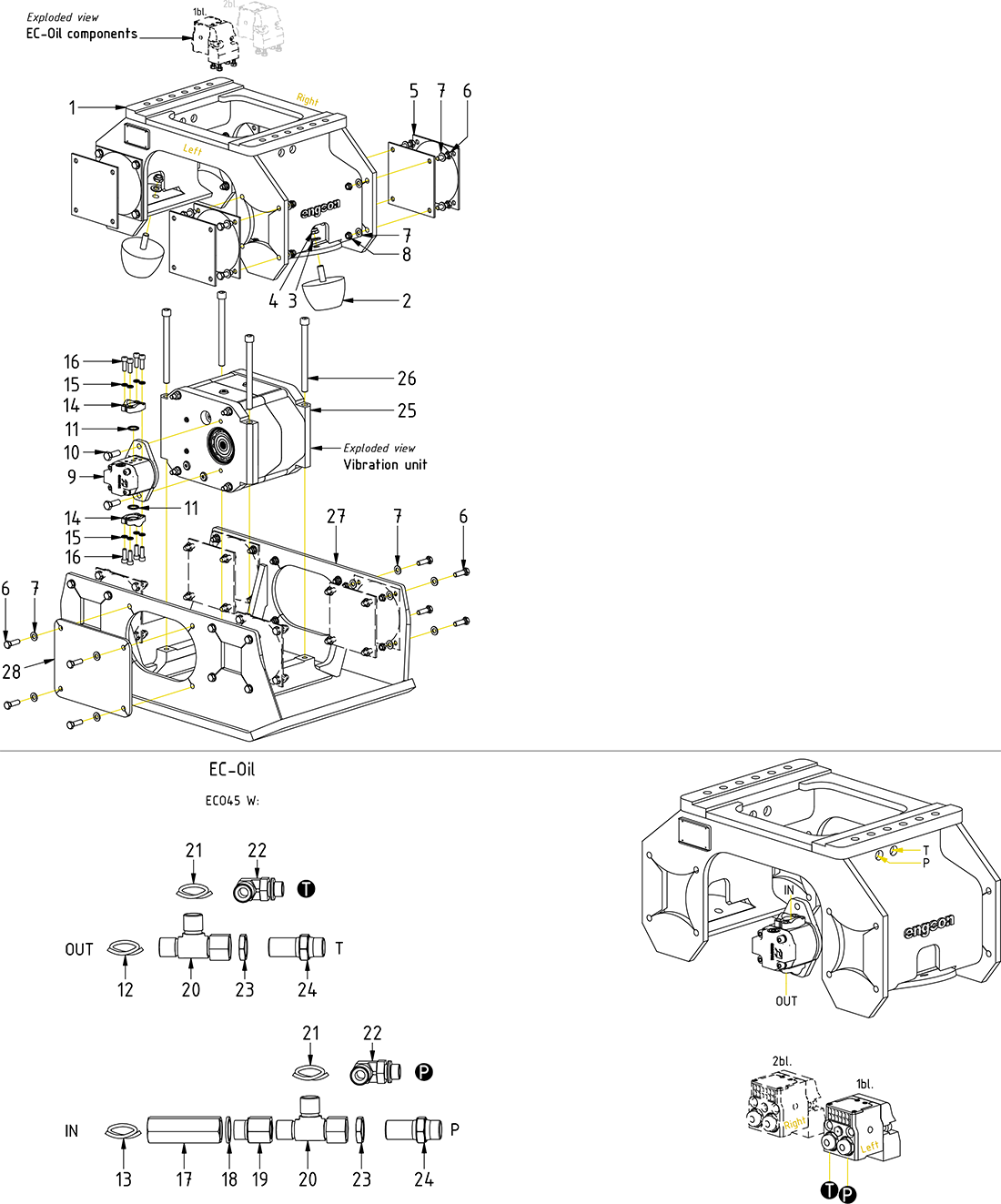
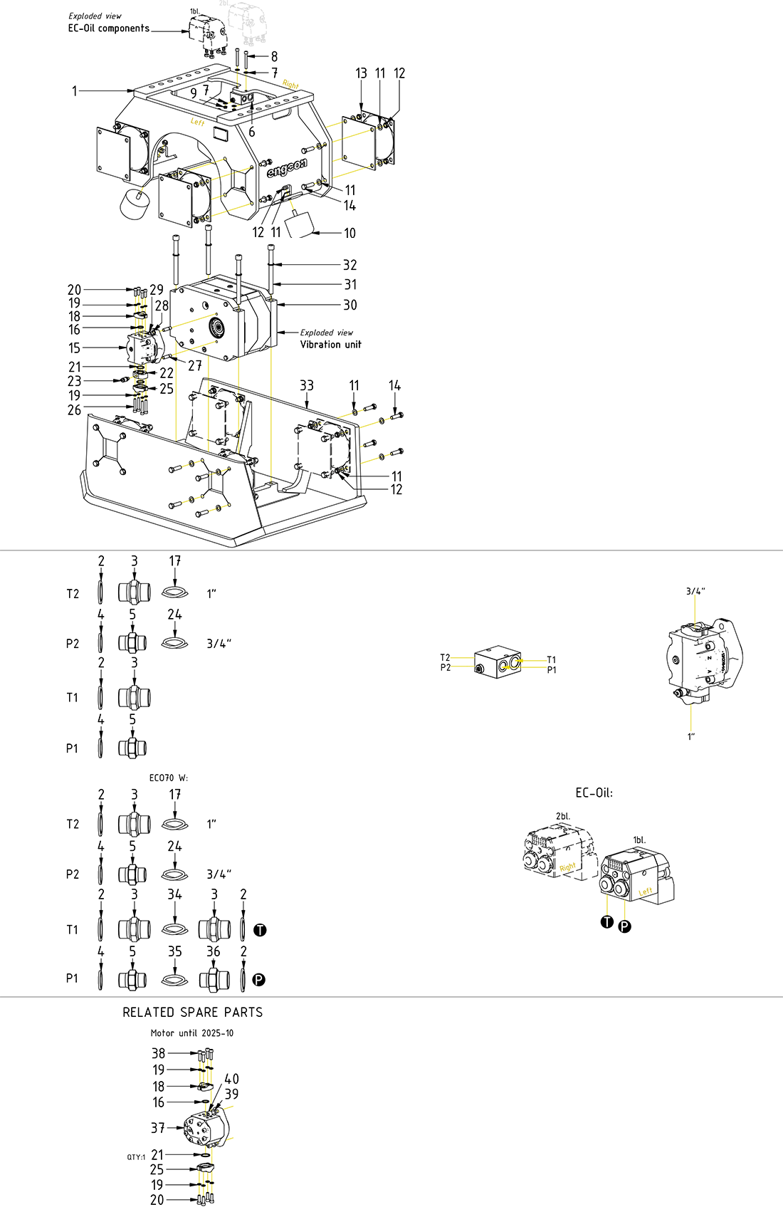
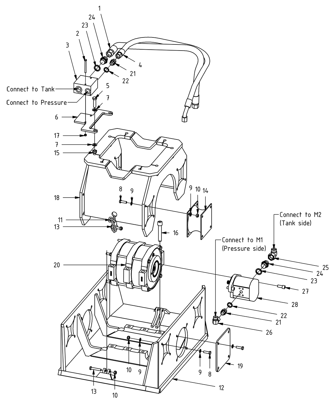
Vibrating compactors

Prices excl. VAT