France: French | English
Do you have questions or need help? Call +33 1 60 79 49 70 or email webshop-fr@engcon.com.
Your cart is empty
€0.00
VAT
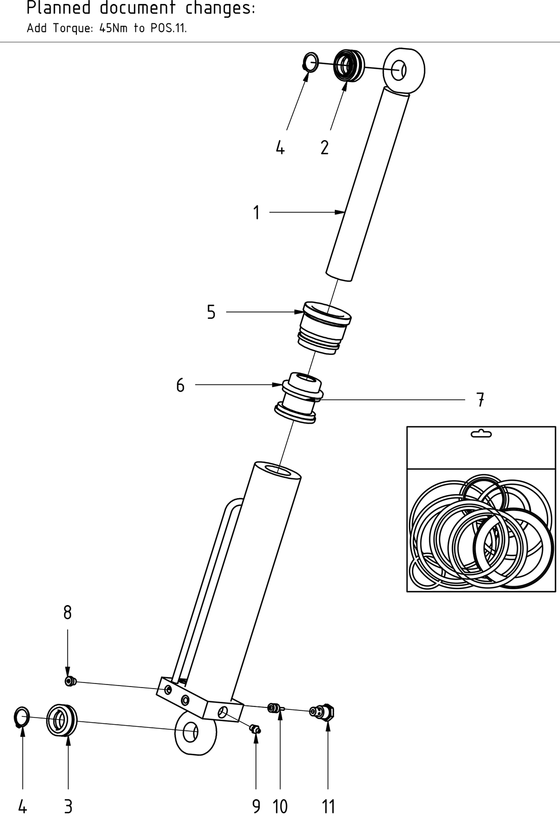
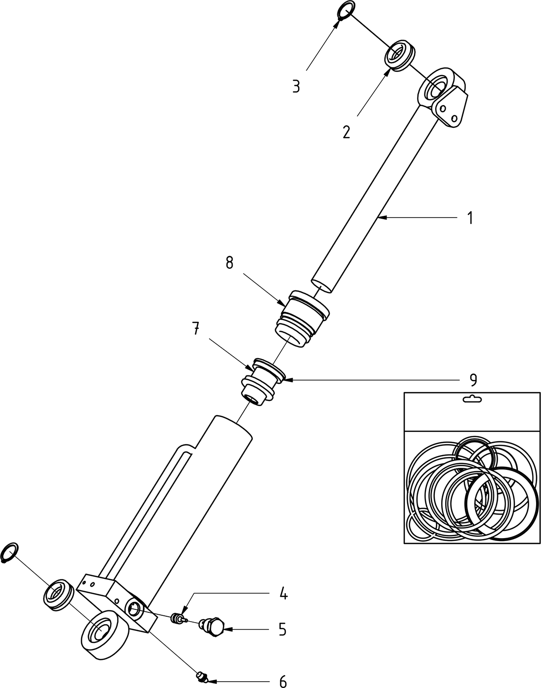
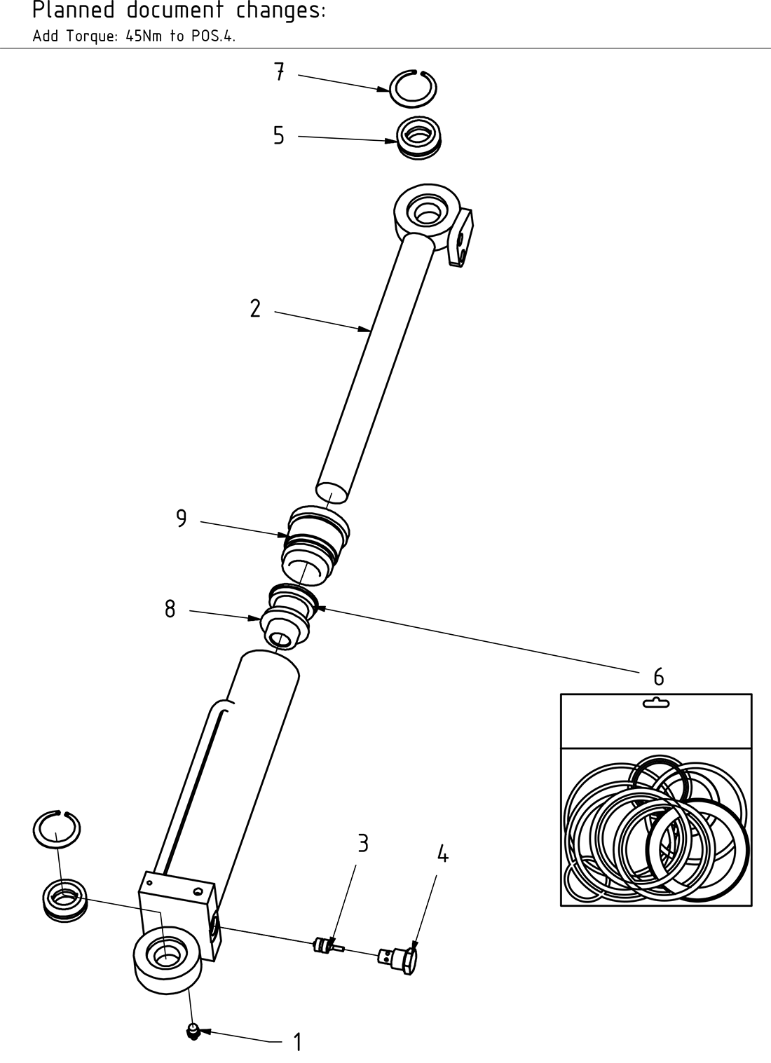
Grab cylinders
Prices excl. VAT